Digital Counter Yang Bisa Disetel
by muhamadlutfi2003720 in Circuits > Assistive Tech
117 Views, 0 Favorites, 0 Comments
Digital Counter Yang Bisa Disetel

Anggota Projek :
- Joseph Maximillian Bonaventura Chico Reginald Jansen - 2502042630
- Muhamad Lutfi - 2502039232
- Darwin - 2502026532
Counter general purpose yang dapat disetel sesuai kebutuhan. Counter ini memiliki 2 display untuk menghitung input sekaligus.
Supplies


- FPGA NEXYS A7-100T
- Aplikasi VIVADO
Block Diagram Rangkaian
.png)
Berikut diatas merupakan block diagram dari general purpose counter yang diaplikasikan pada FPGA
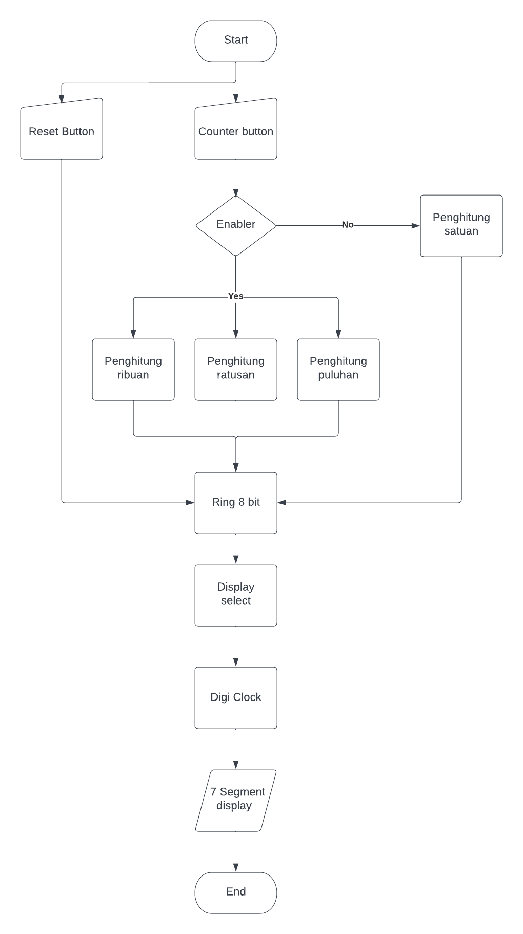
Flow Chart Rangkaian
.png)
Berikut diatas merupakan diagram alir dari general purpose counter yang diaplikasikan pada FPGA
Cara Kerja Sistem
Sistem ini diprogram untuk menyimpan data yang disebabkan oleh pergantian nilai input biner (1/0). Seperti yang dapat dilihat dari block diagram diatas, dimulai jika button pada FPGA ditekan tanpa menyalakan enabler switch, maka akan keluar output angka pada 7 segment (satuan digit pertama). Namun, jika enabler switch dinyalakan, maka button yang ditekan akan mengeluarkan output angka pada 7 segment berdasarkan switch enabler mana yang dinyalakan. Pada program ini disediakan reset button untuk mengulang angka yang sudah dihitung menjadi nol. Sistem ini dapat menghitung dari 2 button dan dapat menghitung secara terpisah. Angka maksimum yang dapat ditampilkan oleh 7 Segment adalah sampai 9999.
Skematik Rangkaian

Berikut diatas merupakan skematik dari general purpose counter.
Enabler

Pada program counter ini, enabler berperan untuk mengatur jenis pengoperasian counter. Enabler merupakan komponen pasif yang artinya enabler akan selalu menyala untuk mengatur pengoperasian counter. Pada sistem ini, enabler memiliki 6 switch. Apabila switch pertama ditekan, maka counter akan berjalan naik satu digit dan akan naik digitnya lagi apabila switch selanjutnya dinyalakan sampai switch ketiga. pada switch ke-4 sampai ke-6, enabler akan menyala seperti biasa tergantung switchnya namun bekerja pada counter kedua.
Counter Satuan

Penghitung satuan pada counter general purpose ini adalah untuk menghitung angka 0-9999 yang dimulai pada digit satuan pada counter 1 dan 2.
Counter Puluhan, Ratusan,dan Ribuan

Penghitung ini berperan untuk menghitung angka pada digit puluhan, ratusan, dan ribuan pada counter 1 dan 2. Penghitung ini dapat digunakan apabila kita sudah menyalakan switch enabler.
Ring 8 Bit

Komponen ini berperan untuk menyalakan LED yang berposisi spesifik pada 7 segment dengan siklus linear (dari posisi pertama, ke posisi kedua dan seterusnya sampai posisi terakhir kemudian kembali lagi ke posisi pertama). namun pengubahan posisi ini dikendalikan oleh clock internal FPGA. Pengimplementasian ring 8 bit pada sistem ini digunakan untuk membuat display yang bersifat dinamik. mengapa dibutuhkan ring 8 bit pada FPGA ini? karena NEXYS A7-100T memiliki komponen 7 segment 8 digit yang dijadikan satu komponen bukan sebagai 8 komponen terpisah.
Display Select

Display select merupakan suatu komponen yang bekerja sama dengan ring 8 bit counter untuk menunjukkan data yang benar pada posisi yang benar. Cara kerjanya adalah dengan membaca siklus ring 8 bit yang mendisplay nilai yang betul sampai di display ketika state tersebut muncul, misalnya untuk mendisplay "12345678", ketika ring 8 bit "01111111", display "1" jadi pada 7 segment "1-------", ring 8 bit "10111111", display "2" jadi pada 7 segment "-2------" dan seterusnya
Scan Engine

pada sistem ini, Scan Engine berperan sebagai pengatur refresh rate pada output seven segment supaya output LED 7 segment dapat dilihat mata dengan jelas.
7 Segment

7 segment pada sistem ini bersifat sebagai display output pada counter ini. 7 segment dapat mendisplay dari angka 0000.0000 sampai 9999.9999.
Video Demo Counter General Purpose

Video demo Counter General Purpose dapat diakses pada link Youtube berikut :
https://youtu.be/pftS1m3jbI4
Poster Counter General Purpose
.png)
Berikut merupakan poster tugas rancang digital counter yang bisa disetel